
Quantum computing is a next-generation breakthrough technology that requires massive R&D spending and long-term investment. In such a highly uncertain and capital-intensive field, patents are the most powerful tool for protecting the core assets of both companies and countries. Patents legally secure exclusive rights to hard-won foundational technologies and algorithms, preventing unauthorized appropriation by competitors and providing a basis for recouping substantial investment.
A strong patent portfolio also demonstrates technological superiority and plays a decisive role in attracting additional funding. At the commercialization stage, patents become a key tool for building barriers to entry and generating royalty income. In short, in the midst of fierce global competition for technological hegemony, securing quantum computing patents is not merely about protecting technology; it is a survival strategy for seizing leadership in future markets.
Against this backdrop, the IP portfolio that leading quantum computing company IonQ is building goes far beyond a simple defensive shield. It functions as objective proof of the company’s technological capabilities and as a core asset that exponentially amplifies corporate value.
1. IonQ’s Three-Layer IP Portfolio: A Blueprint for Building Technological Credibility
The power of IonQ’s patent strategy does not lie simply in the number of patents it owns. What makes it formidable is a diversified, three-layered patent network designed to cover the entire quantum computing stack.
First Layer: Demonstrating Core Hardware (Securing Technological Credibility)
The foundation of any technology company is its core, foundational technology. IonQ focuses its patents on securing exclusivity for its trapped-ion hardware and operating systems.
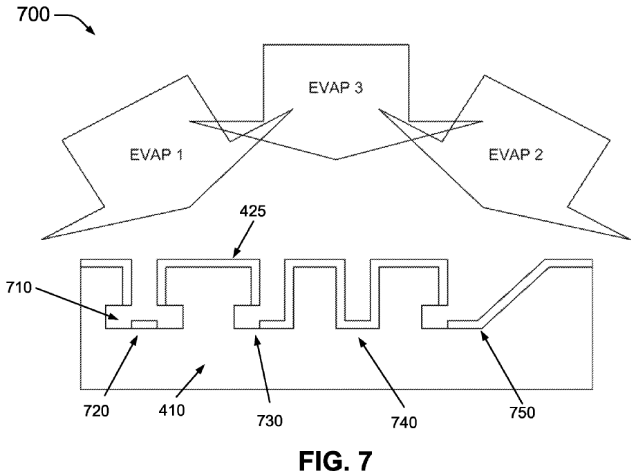
One notable example is US 12,424,344 (Electrode fabrication and die shaping for metal-on-glass ion traps). This patent specifies a concrete semiconductor fabrication technique that solves a key challenge in qubit control: providing high numerical aperture (NA) optical access.

<US 12,424,344 Fig. 7: Example of an electrode structure usable in a metal-on-glass ion trap>
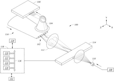
Another key patent, US 12,412,112 (Improving quantum gate infidelity in trapped ion quantum computers), presents a practical engineering solution to noise problems that degrade gate fidelity in trapped-ion quantum computers.

<US 12,412,112 Fig. 1: Conceptual diagram of a trapped-ion quantum computer>
These patents show that IonQ’s technology is not just theory or a lab-level idea. Because a patent specification must disclose how the invention can actually be implemented, the patent portfolio itself becomes the strongest form of technical proof—a primary source of technological credibility.
Second Layer: Controlling Interfaces and Application Software (Creating Market Value)
IonQ’s strategy extends beyond hardware. It also seeks to control, through patents, the software and cloud-access layers through which users and classical computers interact with quantum computers.
In particular, IonQ has recently focused on patents in G06N 10/40 (AI/ML using quantum computing). These patents concretely demonstrate how IonQ’s hardware can create value in real industries such as AI and machine learning.
For investors, this sends a clear message:
“We are not just a chip company. We are targeting the entire solution market that uses these chips.” This significantly enhances the company’s perceived market value.
Third Layer: Preempting Future Markets
The most aggressive pillar of IonQ’s strategy is its use of M&A and technology transfers to secure future markets in advance. Among the technologies IonQ has acquired, patents related to distributed quantum computing and quantum networking stand out—such as US 12,260,113 (“Portable quantum memory package for quantum network nodes”).

<US 12,260,113 Fig. 1A, Fig. 1B: Example of a packaged quantum memory device such as a quantum repeater, including quantum memory and a quantum-memory control device within an external package>
These technologies go beyond today’s competition. Even if a competitor develops a superior processor, that competitor may ultimately have to rely on a “quantum internet” whose technical standards are defined by IonQ’s patents. In this way, IonQ’s strategy underpins the company’s long-term sustainability and future value.
2. Why a Diversified Patent Strategy Maximizes Corporate Value
IonQ’s case clearly illustrates why patent strategy has a decisive impact on how startups are valued.
First, it proves the “objective credibility” of the technology.
In deep-tech fields such as quantum computing, AI, or biotech, the technology is so complex that investors and markets struggle to grasp its substance. In this context, a granted patent—one that has passed a patent office’s rigorous examination—serves as a badge of trust from a national authority, certifying that the technology is both novel and workable.
A diversified portfolio spanning hardware and application software demonstrates not just the quality of individual components but the maturity and reliability of the entire system.
Second, it builds a powerful economic moat.
Markets are unforgiving. No matter how outstanding a technology may be, if competitors can easily imitate it, its value quickly erodes. IonQ’s portfolio of more than 1,000 IP assets makes it extremely difficult for competitors to design around its core technologies.
This strong barrier to entry guarantees IonQ the right to enjoy the lion’s share of market rewards—and that right is directly reflected in its corporate valuation.
Third, it converts R&D investment into income-generating assets.
IonQ has indicated that it plans to begin generating substantial revenue from patent licensing starting in the fourth quarter of 2025. This is a strategy to transform massive R&D expenditure from “cost” into an asset that generates revenue.
Patents are not just a defensive shield; they can also serve as an offensive weapon that yields hundreds of millions of dollars in royalty income. When evaluating corporate value, the monetization potential of intangible assets like these is a key positive factor.
3. A Proposal for Korean Startups: Building IP Portfolios for Credibility and Value
IonQ’s example suggests that, for modern technology companies, success requires the coexistence of core technology R&D and a diversified IP strategy.
Many Korean startups focus solely on product development (Layer 1) and neglect to secure IP for application services built on top of those products (Layer 2) or for next-generation technologies (Layer 3). Strategically, this is like fortifying the castle walls while leaving the access roads to the castle—and the future supply routes—completely exposed to the enemy.
- Plan R&D and IP strategy together.
The direction of technology development and the design of the patent portfolio must move as one from the very beginning.
- Diversify beyond core technology to application and future technologies.
Use patents to preempt not only what your technology does (software, applications), but also how it will be connected and deployed (networking, distributed systems).
- Treat IP not as a cost, but as an asset that proves corporate value.
Strong patent protection raises the credibility of your technology, facilitates fundraising, and secures future revenue streams.
IonQ’s IP portfolio is already nearing completion. This “patent war” will not be confined to quantum technologies; it will spread across all deep-tech industries, including AI and biotech.
To ensure that Korean companies can prove their technological credibility and earn recognition for overwhelming corporate value, they must build their own robust, diversified IP portfolios—ones worthy of being compared to IonQ’s.
Gihyeon Park
Partner Patent Attorney at BLT Patent & Law Firm: www.en.blt.kr
#IonQ #QuantumComputing #Patents #IPStrategy #IPPortfolio #TechnologyCredibility #CorporateValue #DeepTech #EconomicMoat
Quantum computing is a next-generation breakthrough technology that requires massive R&D spending and long-term investment. In such a highly uncertain and capital-intensive field, patents are the most powerful tool for protecting the core assets of both companies and countries. Patents legally secure exclusive rights to hard-won foundational technologies and algorithms, preventing unauthorized appropriation by competitors and providing a basis for recouping substantial investment.
A strong patent portfolio also demonstrates technological superiority and plays a decisive role in attracting additional funding. At the commercialization stage, patents become a key tool for building barriers to entry and generating royalty income. In short, in the midst of fierce global competition for technological hegemony, securing quantum computing patents is not merely about protecting technology; it is a survival strategy for seizing leadership in future markets.
Against this backdrop, the IP portfolio that leading quantum computing company IonQ is building goes far beyond a simple defensive shield. It functions as objective proof of the company’s technological capabilities and as a core asset that exponentially amplifies corporate value.
1. IonQ’s Three-Layer IP Portfolio: A Blueprint for Building Technological Credibility
The power of IonQ’s patent strategy does not lie simply in the number of patents it owns. What makes it formidable is a diversified, three-layered patent network designed to cover the entire quantum computing stack.
First Layer: Demonstrating Core Hardware (Securing Technological Credibility)
The foundation of any technology company is its core, foundational technology. IonQ focuses its patents on securing exclusivity for its trapped-ion hardware and operating systems.
One notable example is US 12,424,344 (Electrode fabrication and die shaping for metal-on-glass ion traps). This patent specifies a concrete semiconductor fabrication technique that solves a key challenge in qubit control: providing high numerical aperture (NA) optical access.
<US 12,424,344 Fig. 7: Example of an electrode structure usable in a metal-on-glass ion trap>
Another key patent, US 12,412,112 (Improving quantum gate infidelity in trapped ion quantum computers), presents a practical engineering solution to noise problems that degrade gate fidelity in trapped-ion quantum computers.
<US 12,412,112 Fig. 1: Conceptual diagram of a trapped-ion quantum computer>
These patents show that IonQ’s technology is not just theory or a lab-level idea. Because a patent specification must disclose how the invention can actually be implemented, the patent portfolio itself becomes the strongest form of technical proof—a primary source of technological credibility.
Second Layer: Controlling Interfaces and Application Software (Creating Market Value)
IonQ’s strategy extends beyond hardware. It also seeks to control, through patents, the software and cloud-access layers through which users and classical computers interact with quantum computers.
In particular, IonQ has recently focused on patents in G06N 10/40 (AI/ML using quantum computing). These patents concretely demonstrate how IonQ’s hardware can create value in real industries such as AI and machine learning.
For investors, this sends a clear message:
“We are not just a chip company. We are targeting the entire solution market that uses these chips.” This significantly enhances the company’s perceived market value.
Third Layer: Preempting Future Markets
The most aggressive pillar of IonQ’s strategy is its use of M&A and technology transfers to secure future markets in advance. Among the technologies IonQ has acquired, patents related to distributed quantum computing and quantum networking stand out—such as US 12,260,113 (“Portable quantum memory package for quantum network nodes”).
<US 12,260,113 Fig. 1A, Fig. 1B: Example of a packaged quantum memory device such as a quantum repeater, including quantum memory and a quantum-memory control device within an external package>
These technologies go beyond today’s competition. Even if a competitor develops a superior processor, that competitor may ultimately have to rely on a “quantum internet” whose technical standards are defined by IonQ’s patents. In this way, IonQ’s strategy underpins the company’s long-term sustainability and future value.
2. Why a Diversified Patent Strategy Maximizes Corporate Value
IonQ’s case clearly illustrates why patent strategy has a decisive impact on how startups are valued.
First, it proves the “objective credibility” of the technology.
In deep-tech fields such as quantum computing, AI, or biotech, the technology is so complex that investors and markets struggle to grasp its substance. In this context, a granted patent—one that has passed a patent office’s rigorous examination—serves as a badge of trust from a national authority, certifying that the technology is both novel and workable.
A diversified portfolio spanning hardware and application software demonstrates not just the quality of individual components but the maturity and reliability of the entire system.
Second, it builds a powerful economic moat.
Markets are unforgiving. No matter how outstanding a technology may be, if competitors can easily imitate it, its value quickly erodes. IonQ’s portfolio of more than 1,000 IP assets makes it extremely difficult for competitors to design around its core technologies.
This strong barrier to entry guarantees IonQ the right to enjoy the lion’s share of market rewards—and that right is directly reflected in its corporate valuation.
Third, it converts R&D investment into income-generating assets.
IonQ has indicated that it plans to begin generating substantial revenue from patent licensing starting in the fourth quarter of 2025. This is a strategy to transform massive R&D expenditure from “cost” into an asset that generates revenue.
Patents are not just a defensive shield; they can also serve as an offensive weapon that yields hundreds of millions of dollars in royalty income. When evaluating corporate value, the monetization potential of intangible assets like these is a key positive factor.
3. A Proposal for Korean Startups: Building IP Portfolios for Credibility and Value
IonQ’s example suggests that, for modern technology companies, success requires the coexistence of core technology R&D and a diversified IP strategy.
Many Korean startups focus solely on product development (Layer 1) and neglect to secure IP for application services built on top of those products (Layer 2) or for next-generation technologies (Layer 3). Strategically, this is like fortifying the castle walls while leaving the access roads to the castle—and the future supply routes—completely exposed to the enemy.
The direction of technology development and the design of the patent portfolio must move as one from the very beginning.
Use patents to preempt not only what your technology does (software, applications), but also how it will be connected and deployed (networking, distributed systems).
Strong patent protection raises the credibility of your technology, facilitates fundraising, and secures future revenue streams.
IonQ’s IP portfolio is already nearing completion. This “patent war” will not be confined to quantum technologies; it will spread across all deep-tech industries, including AI and biotech.
To ensure that Korean companies can prove their technological credibility and earn recognition for overwhelming corporate value, they must build their own robust, diversified IP portfolios—ones worthy of being compared to IonQ’s.
Gihyeon Park
Partner Patent Attorney at BLT Patent & Law Firm: www.en.blt.kr
#IonQ #QuantumComputing #Patents #IPStrategy #IPPortfolio #TechnologyCredibility #CorporateValue #DeepTech #EconomicMoat